【POINT:税務調査でもよく指摘されます。修理の内容を要確認】
~前回の記事の解説です~
あんず先生
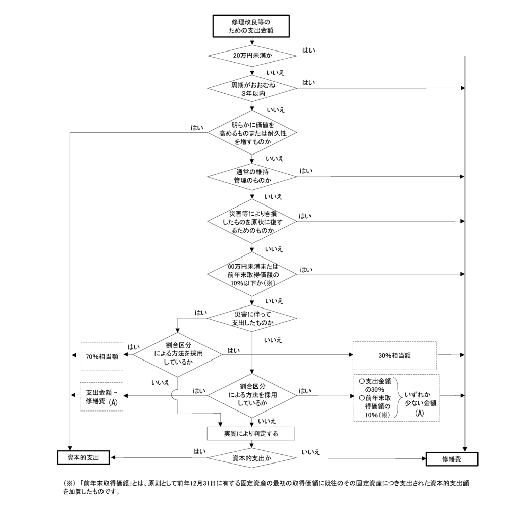
修繕と思っていても、税務上は資産になる場合があります。
資本的支出といいます。
業務の用に供されている固定資産の修理、改良等のために支出した金額のうち、その固定資産の価値を高め、又はその耐久性を増すこととなると認められる部分に対応する金額が資本的支出となります。
修繕費になるか資本的支出になるかは次のフローチャートで確認するといいわね。

あんず先生
修繕だからといって安易に経費にするのではなく、その支払いがどういう内容の支払いかをよく確認することがポイントね。